

240 有功功率表
型号:LS-96、 LS-72
精度:1.5级
型号:BE-96、 BE-72、 BE-48
测量系统包括动圈指示器和功率转换器, 测量单相或三相系统的有功功率和无功功率, 用于平衡负载和不平衡负载的电路中。代表符号:有功功率为W,无功功率为Var。
规格: 100W 200W 300W 500W 600W 1KW 3KW 5KW 10KW 15KW 20KW 30KW 50KW 60KW 75KW 80KW 100KW 120KW...5MW等输入电流大于15A外接次级电流为1A或5A的电流互感器使用。
电压: 单相 100V 220V
三相三线100V,220V, 380V, 400V
三相四线100V, 220/380V,230/400V,240/415V
电流: 1A, 5A
当接电流/电压互感器时,次级输出应满足直接接通式的电流/电压值。
外壳:外壳和底座均由阻燃PC塑料制成。

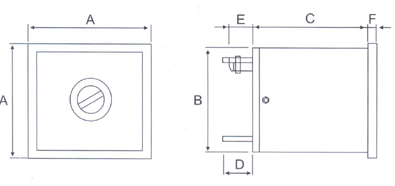
型号 | A | B | C | D | E | F | 开孔 |
LS-72 | 73 | 66 | 44 | 17 | 13 | 6.5 | 68X68 |
LS-96 | 96.5 | 90 | 45 | 17 | 13 | 6 | 92X92 |