您好,欢迎来到xk星空体育直播|追求高质量的平台官网!

仪器仪表生产企业

来自台湾的指针式电表生产工厂创始于1977年

全国服务热线:

0512-57550893
昆山转速表厂家
您当前的位置 : 首 页 > 产品展示 > 广角度交流电压表

广角度交流电压表-LS-72

2021-04-15 11:05:03
广角度交流电压表-LS-72
详细介绍:

240 整流式交流电压表

型号:LS-96、LS-72

精度:1.5级 

规格:3V 5V 7.5V 10V 15V 20V 30V 50V 75V 100V

120V 150V 200V 250V 300V 400V 450V 500V

600V以上配外附定值电阻器(额定电流5mA 1mA) 

阻燃:外壳用阻燃塑料材料制成(符合UL-94 V0标准) 

安装:通过螺母安装,安全,快速牢固 

安装深度:不大于43mm


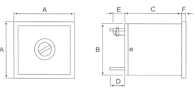
3.png

型号

A

B

C

D

E

F

开孔

LS-72

73

66

44

17

13

6.5

68X68

LS-96

96.5

90

45

17

13

6

92X92



标签

上一篇:广角度交流电压表 LS-96V2021-04-15
下一篇:没有了

最近浏览: